行业资讯

COPPUS 3S-HP Hornet文丘里风机

作者:苏州萨沃纳 来源:苏州萨沃纳 日期:2023-09-14 人气:469

COPPUS 3S-HP Hornet文丘里风机

COPPUS 3S-HP Hornet文丘里风机

品牌:COPPUS

类型:聚乙烯文丘里风机

型号:3S-HP Hornet

颜色:黑色

产品描述:【萨沃纳工业】供应汽油驱动排烟机COPPUS 3S-HP Hornet文丘里风机,耐腐蚀塑料文丘里风机,黑色气动文丘里鼓风机.陈先生13372125666

名称:COPPUS 3S-HP Hornet文丘里风机

品牌:COPPUS

类型:聚汽油驱动排烟机乙烯文丘里风机

型号:3S-HP Hornet

颜色:黑色

产品描述:【萨沃纳工业】供应COPPUS 3S-HP Hornet文丘里风机,耐腐蚀塑料文丘里风机,黑色气动文丘里鼓风机.陈先生1337212399汽油驱动排烟机9 简介:

COPPUS 3S-HP Hornet文丘里风机,具有质量轻、耐撞击、传导型聚合材料、扩散管坚固不易损坏等特点。COPPUS 3S-HP Hornet为聚合材质可安全排除静电;扩散管为低密度的汽油驱动排烟机聚乙烯材质,UL等级为94-V2, 操作温度可达93"C。是“高性能,高效率之鼓风文丘里风机”的代表作,COPPUS 3S-HP Hornet 在工业界被公认效能较优良的鼓风文丘里风机, 与旧式文丘里汽油驱动排烟机风机相比较,新式文丘里鼓风机能达到40:1的空气流量转换,并减少26%压缩空气的消耗。

特色:

•压力100psig的风量2820m³/hr;

•进/出气额定比可达40:1;

•喷嘴与外壳一体成型;

•高静电压汽油驱动排烟机性能;

•提供钢质,铝质或防撞聚合材质多款扩散管(Hornet HP型);

•钢制扩散管以黄色环基氧粉及传导材料包覆,可排除静电;

•无可卸式组件,免维修;

•所有型号配备静电接地线及弹簧夹;

•可在扩散管末端汽油驱动排烟机接伸缩风管(亦可选用风管入口拼合器);

•可选用三角架

操作原理:

压缩空气或蒸气透过单一入口接合装置 进入COPPUS鼓风机。由喷嘴喷出的气体或蒸气,形成文丘里原理,吸引周围空气经由入口进入COPPUS,汽油驱动排烟机空气便透过管状扩散管以高速率的方式被排放出来。

注意:操作效能依赖压缩空气之流量及压力。

型号对比: 风量变化:

入口风压

送风量cfm(m3/hr)

空气消耗量cfm(m3/hr)

进/出气额定比

60psig(4汽油驱动排烟机.2kg/cm2)

1,370/2,328

47/80

29.1

80psig(5.6kg/cm2)

1,530 /2,600

61/104

25.1

100psig(7kg/cm2)

1,660/2,820

72/12汽油驱动排烟机2

23.0
密封静压:

型号

入口风压

60 psig(4.2kg/cm2)

80 psig(5.6kg/cm2)

l00psig(7kg/cm2)

3S-HP

5.8" / 147mm

7.5" / 191mm

89 汽油驱动排烟机/ 224mm

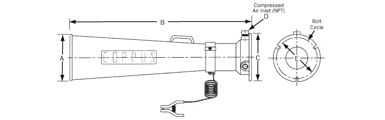
结构图:

型号

A inch/mm

B inch/mm

C inch/mm

D inch/mm

固定缝

WT lbs/kg

E inch/mm

No.

宽度 inch/mm

3S-HP

6.0/152

16.5/汽油驱动排烟机419

7.5/190

1/2/13

6.5/165

3

0.4/10

6/2.7

噪声:

COPPUS DECIBEL LEVEL
Model
Pressure
Decibel
psig
dBa
3S-HP Hornet
40
60
85
80
88
最大工作压力 150 psig (10.5 kg/cm2) Maximum operating pressure 150 psig (10.5 kg/cm2)